Digital Violin
The Violin is Dead

Long Live the Violin
GABRIEL DIMITRIU (1929)
VIOLON - ELECTROMAGNEIQUE TRANSMETTANT LES SONS AUX HAUT-PARLEURS
France (Seine) Brevet d'invention (686.683)
Application filed 16 December 1929
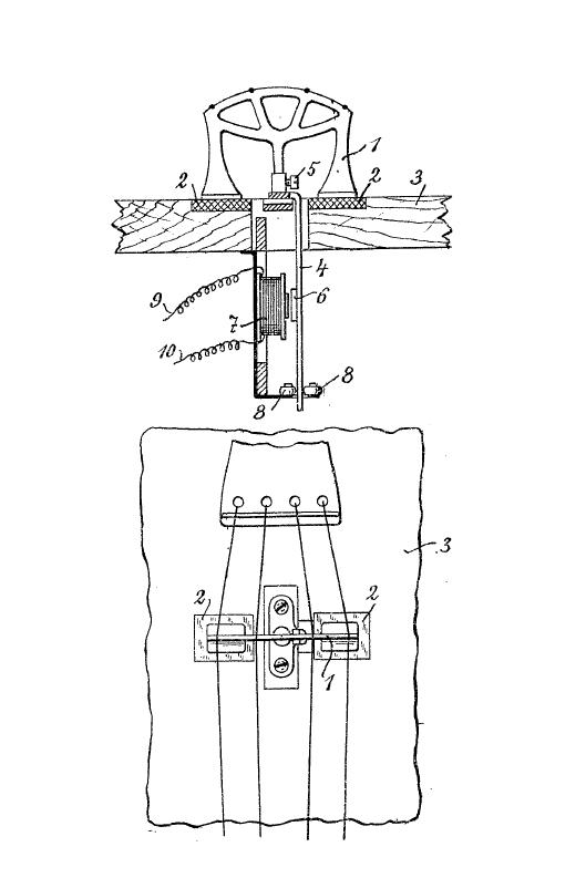
The present invention relates to a violin which transmits the sounds to the loudspeakers by a device which transforms the sound vibrations of the strings of the violin into variable electrical currents. These electrical currents activate the loudspeakers by the intermediary of an amplifier.
The violin is composed of a bridge on two rubber plates fixed on the belly of the violin, the latter can be made out of solid wood, the sonority of the instrument being entirely superfluous.
On the bridge is fixed a stem by a screw, this stem carries an iron sheet plate laid out in front of the reels of a permanent magnet, fixed by suitable means on the belly of the violin. The lower end of the stem is guided between two rubber discs. The two wire of the two reels are connected to an amplifier which actuates the loudspeakers.
It is obvious, that the vibrations of the strings are transmitted to the iron plate which moves in front of the permanent magnet by changing according to the intensity of the vibrations the magnetic circuit, which creates electrical currents in the reels which correspond exactly to the vibrations of the cords. The device can be applied for all the string instruments, the instrument can be at any distance of the audience.
... translated BAH/BabelFish

This work is licensed under a Creative Commons Attribution-NonCommercial-NoDerivs 2.5 License.
up